Reveal Moldings for 2023 Genesis G90
My Garage
2023 Genesis G90
E-Supercharger 3.5L V6 - MILD HYBRID EV-GAS (MHEV)
Change Vehicle
Categories
- Aperture Panel
- Bumper & Components - Front
- Bumper & Components - Rear
- Center Console
- Cluster & Switches
- Cowl
- Door & Components
- Driver Seat Components
- Ducts
- Electrical Components
- Exterior Trim - Fender
- Exterior Trim - Front Door
- Exterior Trim - Pillars
- Exterior Trim - Rear Door
- Exterior Trim - Trunk
- Fender & Components
- Floor
- Glass - Front Door
- Glass - Rear Door
- Glass - Windshield
- Glass & Hardware
- Glass & Hardware - Back
- Glove Box
- Grille & Components
- Hinge Pillar
- Hood & Components
- Inner Components
- Instrument Panel
- Interior Trim - Front Door
- Interior Trim - Pillars
- Interior Trim - Quarter Panels
- Interior Trim - Rear Body
- Interior Trim - Rear Door
- Interior Trim - Roof
- Interior Trim - Trunk
- Jack & Components
- Labels
- Lid & Components
- Lock & Hardware
- Master Cylinder - Components On Dash Panel
- Outside Mirrors
- Overhead Console
- Passenger Seat Components
- Quarter Panel
- Radiator Support
- Rear Body
- Rear Floor & Rails
- Rear Seat Components
- Reveal Moldings
- Rocker
- Roof & Components
- Sound System
- Splash Shields
- Structural Components & Rails
- Sunroof
- Under Cover & Splash Shields
- Washer Components
- Wiper & Washer Components
- Wiper Components
- Air Bag Components
- Alternator
- Antenna & Radio
- Backup Lamps
- Battery
- Electrical Components
- Front Seat Belts
- Fuse & Relay
- Headlamp Components
- High Mounted Stop Lamp
- Horn
- Ignition System
- Keyless Entry Components
- License Lamps
- Rear Seat Belts
- Side Repeater Lamps
- Starter
- Tail Lamps
- Tire Pressure Monitor Components
- Wiring Harness
- Aperture Panel
- Bumper & Components - Front
- Bumper & Components - Rear
- Center Console
- Cluster & Switches
- Cowl
- Door & Components
- Driver Seat Components
- Ducts
- Electrical Components
- Exterior Trim - Fender
- Exterior Trim - Front Door
- Exterior Trim - Pillars
- Exterior Trim - Rear Door
- Exterior Trim - Trunk
- Fender & Components
- Floor
- Glass - Front Door
- Glass - Rear Door
- Glass - Windshield
- Glass & Hardware
- Glass & Hardware - Back
- Glove Box
- Grille & Components
- Hinge Pillar
- Hood & Components
- Inner Components
- Instrument Panel
- Interior Trim - Front Door
- Interior Trim - Pillars
- Interior Trim - Quarter Panels
- Interior Trim - Rear Body
- Interior Trim - Rear Door
- Interior Trim - Roof
- Interior Trim - Trunk
- Jack & Components
- Labels
- Lid & Components
- Lock & Hardware
- Master Cylinder - Components On Dash Panel
- Outside Mirrors
- Overhead Console
- Passenger Seat Components
- Quarter Panel
- Radiator Support
- Rear Body
- Rear Floor & Rails
- Rear Seat Components
- Reveal Moldings
- Rocker
- Roof & Components
- Sound System
- Splash Shields
- Structural Components & Rails
- Sunroof
- Under Cover & Splash Shields
- Washer Components
- Wiper & Washer Components
- Wiper Components
- Air Bag Components
- Alternator
- Antenna & Radio
- Backup Lamps
- Battery
- Electrical Components
- Front Seat Belts
- Fuse & Relay
- Headlamp Components
- High Mounted Stop Lamp
- Horn
- Ignition System
- Keyless Entry Components
- License Lamps
- Rear Seat Belts
- Side Repeater Lamps
- Starter
- Tail Lamps
- Tire Pressure Monitor Components
- Wiring Harness
Browse Categories
Select category
- Aperture Panel
- Bumper & Components - Front
- Bumper & Components - Rear
- Center Console
- Cluster & Switches
- Cowl
- Door & Components
- Driver Seat Components
- Ducts
- Electrical Components
- Exterior Trim - Fender
- Exterior Trim - Front Door
- Exterior Trim - Pillars
- Exterior Trim - Rear Door
- Exterior Trim - Trunk
- Fender & Components
- Floor
- Glass - Front Door
- Glass - Rear Door
- Glass - Windshield
- Glass & Hardware
- Glass & Hardware - Back
- Glove Box
- Grille & Components
- Hinge Pillar
- Hood & Components
- Inner Components
- Instrument Panel
- Interior Trim - Front Door
- Interior Trim - Pillars
- Interior Trim - Quarter Panels
- Interior Trim - Rear Body
- Interior Trim - Rear Door
- Interior Trim - Roof
- Interior Trim - Trunk
- Jack & Components
- Labels
- Lid & Components
- Lock & Hardware
- Master Cylinder - Components On Dash Panel
- Outside Mirrors
- Overhead Console
- Passenger Seat Components
- Quarter Panel
- Radiator Support
- Rear Body
- Rear Floor & Rails
- Rear Seat Components
- Reveal Moldings
- Rocker
- Roof & Components
- Sound System
- Splash Shields
- Structural Components & Rails
- Sunroof
- Under Cover & Splash Shields
- Washer Components
- Wiper & Washer Components
- Wiper Components
- Air Bag Components
- Alternator
- Antenna & Radio
- Backup Lamps
- Battery
- Electrical Components
- Front Seat Belts
- Fuse & Relay
- Headlamp Components
- High Mounted Stop Lamp
- Horn
- Ignition System
- Keyless Entry Components
- License Lamps
- Rear Seat Belts
- Side Repeater Lamps
- Starter
- Tail Lamps
- Tire Pressure Monitor Components
- Wiring Harness
- Aperture Panel
- Bumper & Components - Front
- Bumper & Components - Rear
- Center Console
- Cluster & Switches
- Cowl
- Door & Components
- Driver Seat Components
- Ducts
- Electrical Components
- Exterior Trim - Fender
- Exterior Trim - Front Door
- Exterior Trim - Pillars
- Exterior Trim - Rear Door
- Exterior Trim - Trunk
- Fender & Components
- Floor
- Glass - Front Door
- Glass - Rear Door
- Glass - Windshield
- Glass & Hardware
- Glass & Hardware - Back
- Glove Box
- Grille & Components
- Hinge Pillar
- Hood & Components
- Inner Components
- Instrument Panel
- Interior Trim - Front Door
- Interior Trim - Pillars
- Interior Trim - Quarter Panels
- Interior Trim - Rear Body
- Interior Trim - Rear Door
- Interior Trim - Roof
- Interior Trim - Trunk
- Jack & Components
- Labels
- Lid & Components
- Lock & Hardware
- Master Cylinder - Components On Dash Panel
- Outside Mirrors
- Overhead Console
- Passenger Seat Components
- Quarter Panel
- Radiator Support
- Rear Body
- Rear Floor & Rails
- Rear Seat Components
- Reveal Moldings
- Rocker
- Roof & Components
- Sound System
- Splash Shields
- Structural Components & Rails
- Sunroof
- Under Cover & Splash Shields
- Washer Components
- Wiper & Washer Components
- Wiper Components
- Air Bag Components
- Alternator
- Antenna & Radio
- Backup Lamps
- Battery
- Electrical Components
- Front Seat Belts
- Fuse & Relay
- Headlamp Components
- High Mounted Stop Lamp
- Horn
- Ignition System
- Keyless Entry Components
- License Lamps
- Rear Seat Belts
- Side Repeater Lamps
- Starter
- Tail Lamps
- Tire Pressure Monitor Components
- Wiring Harness
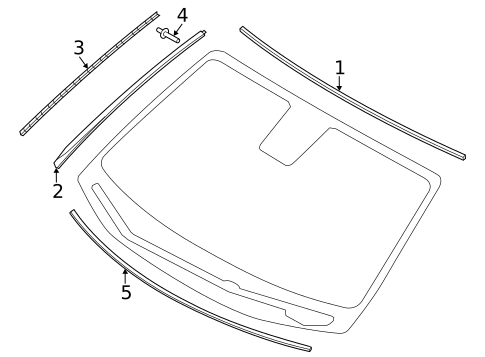
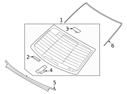
Reveal Moldings for 2023 Genesis G90
No.
Part # / Description / Price
Price
3
MSRP $211.68
$193.06
3
MSRP $211.68
$193.06
4
Side Molding Rivet
Hyundai
Hyundai Positions: Left
Description: Without sport, 2017-19. With ev. Us built. Korea built, hybrid blue, hybrid limited. With sport, 2013-2016. Wagon. With sport, 2017-18.
$1.16
$1.16
No.
Part # / Description / Price
Price
4
$20.54
